TOME III (volume 1)
Moulinex

ETUDE DES COMPTES

    Profil du groupe

    Chiffres clés du groupe

     

    1988

    1989

    1990

    1991

    1993*

    1994

    1995

    1996

    1997

    1998

    Compte de résultat (en millions de francs)

    Chiffre
    d'affaires

    4 087,2

    5 126,0

    5 964,2

    8 297,1

    9 883,2

    8 047,7

    7 681,7

    7 787,9

    7 745,7

    8 027,6

    Valeur ajoutée

    1 720,1

    1 983,7

    2 369,5

    3 380,3

    4 084,8

    3 006,3

    2 810,1

    2 524,5

    2 562,0

    2 543,2

    Frais de personnel

    1 277,6

    1 491,2

    1 748,8

    2 481,5

    3 247,4

    2 379,3

    2 262,0

    2 117,4

    2 009,6

    1 822,0

    EBE

    442,5

    492,5

    620,7

    898,8

    837,4

    627,0

    548,1

    407,1

    552,4

    721,2

    Résultat d'exploitation

    235,7

    329,3

    367,7

    499,0

    315,9

    40,8

    116,9

    54,3

    160,1

    318,8

    Résultat imposable

    226,3

    231,0

    188,4

    194,3

    - 134,5

    - 573,7

    - 204,1

    - 694,5

    34,8

    207,8

    Résultat net

    177,4

    179,7

    160,3

    171,1

    - 131,4

    - 598,6

    - 222,4

    - 698,9

    28,9

    207,3

    Ratios (%)

    Taux de VA

    41,0

    37,0

    38,9

    38,4

    38,3

    38,4

    36,8

    32,1

    33,0

    31,0

    Rentabilité
    économique (1)

    23,3

    19,3

    20,8

    18,9

    16,2

    14,7

    14,6

    11,4

    15,3

    21,2

    Rentabilité
    financière (2)

    18,3

    15,8

    12,3

    10,5

    - 9,2

    - 77,0

    - 15,4

    - 93,5

    2,2

    13,6

    Taux
    d'investissement (3)

    14,0

    19,0

    14,1

    16,1

    20,9

    9,0

    6,5

    9,8

    14,6

    17,8

    Taux d'endettement net

    61,0

    94,2

    99,8

    134,4

    209,5

    316,6

    106,4

    201,6

    83,2

    74,7

    CA/salarié (kF)

    359,1

    450,5

    469,1

    560,6

    686,3

    601,4

    639,8

    577,4

    700,0

    754,3

* 15 mois

(1) EBE/capital économique

(2) résultat net/capitaux propres

(3) investissements/valeur ajoutée

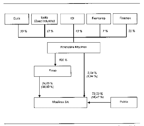
Organigrammes du groupe Moulinex

Les organigrammes juridique et fonctionnel de Moulinex se présentaient comme suit au 31 mars 1998.

Organigramme juridique (en pourcentage)

* Droits de vote Sociétés sans activités Holdings

(1) En liquidation Source : Moulinex

Moulinex SA regroupe les activités de production et de distribution en France et contrôle une trentaine de filiales étrangères. Le nombre de filiales a sensiblement augmenté en 1989 et 1991 à la suite des acquisitions des marques Swan (Royaume-Uni), Girmi (Italie) et Krups (Allemagne). Le groupe Moulinex a récupéré les sociétés de production et de distribution de ces marques.

Sur la période récente, les modifications sur les filiales sont les suivantes :

    · création de nouvelles filiales de distribution et de joint-venture industrielles destinées à produire localement certains produits (Europe de l'Est, Chine avec une production de micro-ondes) ;

    · absorption de filiales qui dépendaient de Krups par les filiales Moulinex localisées dans le même pays pour simplifier la gestion du groupe qui doit d'abord gérer les problématiques de cannibalisation de marques.

Organigramme fonctionnel au 31 mars 1998

      Source : Moulinex

Cet organigramme représente une structure fonctionnelle centralisée. L'organisation du groupe est structurée autour de neuf directions animées par quatre Directeurs Généraux Adjoints sous la présidence de Pierre Blayau (Président Directeur Général et Président du Conseil d'Administration). Cette organisation a été progressivement mise en place depuis 1996.

Portefeuille d'activités de Moulinex

L'activité de Moulinex recouvre la conception, la fabrication et la commercialisation d'appareils de petit électroménager. Le groupe se positionne en tant que généraliste dans les univers de la cuisson, du petit-déjeuner, de la préparation des aliments, du soin du linge, de l'entretien des sols et de la beauté santé. Il produit et diffuse plus de 100 produits.

Répartition du chiffre d'affaires par famille de produits (en %)

    Source : Rapports annuels

Six familles de produits

    Cuisson

    Petit-déjeuner

    Préparation alimentaire

    Soins du linge

    Entretien
    des sols

    Beauté/ santé

    Fours

    Bouilloires

    Robots
    multifonctions

    Fers à
    repasser

    Aspirateurs

    Sèche-cheveux

    Fours à
    micro-ondes

    Cafetières

    Blenders

       

    Brosse à dents

    Friteuses

    Centrifugeuses

    Hachoirs

         
     

    Grille-pain

    Mixers

         
       

    Fun cooking

         

Le groupe dispose de deux marques internationales : Moulinex et Krups. Il met en place depuis 1996 une stratégie multimarques (centralisation de la démarche marketing, équipes commerciales communes en Europe, au Canada et au Mexique) visant à couvrir plusieurs gammes de produits et à s'adapter à certains marchés nationaux.

Le portefeuille de marques

Marque

Champ

Positionnement

Moulinex

Marque mondiale

Moyen-haut de gamme selon les zones

Krups

Europe et ALENA

Moyen-haut de gamme

Mallory

Brésil puis Mercosur

Entrée et milieu de gamme

Swan

Grande-Bretagne

A définir

    Source : Moulinex

Répartition du chiffre d'affaires par marque (en %)

Les trois-quarts du chiffre d'affaires du groupe sont réalisés par la marque Moulinex. La contribution de la marque Krups reste stable autour de 23 % du chiffre d'affaires total.

Positionnement concurrentiel

Moulinex est le deuxième groupe mondial de PEM après Seb. Il devance Philips, Mats, B&D et Braun.

Classement mondial des fabricants de PEM (sauf rasoirs et santé/beauté) en 1997 (en milliards de francs)

* Moulinex- Krups Source :Moulinex

Moulinex détient des parts de marché importantes en volume (parts de marché entre 23 et 41 %) et en valeur (parts de marché entre 28 et 40 %) sur les robots (succès de l'Ovatio), les batteurs (Krups est leader en Allemagne) et les cafetières à filtre. Moulinex a perdu des points de parts de marché entre 1997 et 1998 dans huit catégories de produits (sur un total de onze).

Parts de marché Europe (en valeur)

    (%)

    Avril 1996 à mars 1997

    Avril 1997 à mars 1998

    Ecart

    Robots

    38,8

    39,9

    + 1,1

    Batteurs

    37,4

    33,6

    - 3,8

    Cafetières filtre

    30,5

    28,0

    - 2,5

    Mixers plongeants

    25,6

    22,3

    - 3,3

    Toasters

    19,4

    20,7

    + 1,3

    Friteuses

    20,6

    20,0

    - 0,6

    Expressos

    19,7

    18,7

    - 1,0

    Bouilloires

    13,8

    14,2

    + 0,4

    Micro-ondes

    12,2

    10,8

    - 1,4

    Fers à vapeur

    9,7

    8,1

    - 1,6

    Aspirateurs traîneaux

    5,2

    4,4

    - 0,8

    Source : GFK

Parts de marché Europe (en volume)

    (%)

    Avril 1996 à mars 1997

    Avril 1997 à mars 1998

    Ecart

    Robots

    39,5

    41,0

    + 1,5

    Batteurs

    32,2

    29,7

    - 2,5

    Mixers plongeants

    28,2

    24,1

    - 4,1

    Cafetières filtre

    24,8

    23,2

    - 1,6

    Expressos

    24,1

    22,2

    - 1,9

    Friteuses

    23,0

    21,9

    - 1,1

    Toasters

    18,6

    19,7

    + 1,1

    Bouilloires

    12,3

    12,4

    + 0,1

    Micro-ondes

    10,4

    9,6

    - 0,8

    Fers à vapeur

    9,8

    8,9

    - 0,9

    Aspirateurs traîneaux

    5,3

    4,6

    - 0,7

    Source : GFK

Actionnariat

La structure de l'actionnariat a considérablement évolué depuis 1990. En 1990, le fondateur a cédé la FINAP (holding de Moulinex SA) à la Financière Moulinex regroupant le personnel de Moulinex SA et de ses filiales.

L'actionnariat de Moulinex a connu deux modifications importantes en 1994 et 1997.

    · En juillet 1994, le capital est ouvert à des investisseurs financiers. A l'issue de cette opération, les sociétés catégorielles issues du RES de 1990 sont fusionnées conduisant les associés de ces sociétés à détenir directement des actions de Moulinex SA. Finamex, la société en commandites par actions détenues par la famille Mantelet (du fondateur Jean Mantelet) conserve une participation de 33 %. Moulinex est une société détenue par des investisseurs financiers et non plus une entreprise familiale.

Structure de l'actionnariat au 31 mars 1995

( ) droits de vote Source : Moulinex

    · A la fin de l'année 1997, Moulinex SA a procédé à la fusion-absorption de ses deux holding (détentrices jusqu'à cette date des titres Moulinex SA) Finap et Financière Moulinex. Cette fusion permet aux actionnaires de Financière Moulinex de détenir directement des titres de Moulinex SA. L'aboutissement de cette opération est également un accroissement du poids du public (72,3 % au 31 mars 1997) dans le capital de Moulinex SA.

Orientations stratégiques du groupe

Caractéristiques du marché du petit électroménager

Les marchés sur lesquels se positionne Moulinex représentaient à l'échelle européenne 25 milliards de francs en 1998 pour plus de 62 millions d'unités vendues. Le marché européen a été orienté à la hausse en 1998 par rapport à 1997. Il est venu compenser le ralentissement des marchés asiatiques, les soubresauts du Brésil ou encore le coup d'arrêt de l'activité en Russie.

Taille du marché européen de PEM par segment de produits en 1998

    Segment de marché

    Volume
    (000 unités)

    Variation
    97/98 (%)

    Valeur
    (MF)

    Variation
    97/98 (%)

    Aspirateurs

    10 874

    + 6,4

    8 878

    + 13,9

    Repassage

    22 087

    + 0,5

    6 526

    + 2,7

    Cafetières

    14 993

    + 0,8

    3 023

    - 1,9

    Micro-ondes

    1 978

    + 2,9

    2 380

    + 2,0

    Robots

    2 526

    - 3,1

    1 428

    + 1,3

    Batteurs

    4 584

    - 0,4

    938

    - 1,1

    Friteuses*

    3 473

    + 2,4

    859

    + 8,0

    Friteuses**

    955

    - 1,0

    454

    + 1,0

    Fours**

    744

    - 1,0

    576

    - 2,0

* Europe hors France.

** France. Source : Moulinex

1998 marque une rupture dans la pression à la baisse des prix de vente sur certains segments de produits, en particulier les aspirateurs, les robots, les friteuses ou encore les fers à repasser.

Tous ces segments ont bénéficié du lancement de nouveaux produits : le super compact dans les aspirateurs (aspirateur Powerpack), le robot Ovatio de Moulinex, l'introduction des cuves amovibles haut de gamme dans les friteuses, des produits haut de gamme dans les fers à repasser (Philips, Tefal, Rowenta). L'introduction de la couleur sur nombre de ces segments de produits a modifié certains comportements d'achat (introduction d'une dimension plaisir et esthétique dans l'achat) et a tiré le marché à la hausse.

D'autres segments de produits (cafetières, fours à micro-ondes, batteurs, fours) souffrent toujours du phénomène de baisse de prix compte tenu d'une concurrence asiatique forte, notamment dans les produits d'entrée de gamme.

Caractéristiques du marché du petit électroménager (PEM)

    Caractéristiques

    Opportunités

    Contraintes

    Taux d'équipement élevé en PEM des foyers européens (supérieur à 70 % sauf micro-ondes, friteuses).

    Marché de renouvellement favorisé par le fait que les articles de PEM sont considérés comme non réparables et donc jetables.

    Gain de parts de marché par le lancement de nouveaux produits.

    Marché saturé en volume.

    Nécessité d'engager des frais importants de R&D et marketing (publicité, promotion) pour proposer une offre innovante et prendre des parts de marché aux concurrents.

    Forte pénétration des produits asiatiques (chinois, coréens)

    Développement des MDD et des entrées de gamme de certaines marques.

    Pression à la baisse sur les prix de vente.

    La grande distribution est le premier circuit de distribution

    Gros volumes.

    Impact positif des opérations promotionnelles.

    Flux de clientèle drainée par les rayons alimentaires et profitant au PEM.

    Partenariat pour l'internationa-lisation des marques de PEM, la grande distribution ayant acquis une connaissance de certains marchés internationaux.

    Poids des rabais consentis à la grande distribution réduisant la marge commerciale des marques

    Coûts de référencement élevés

    Erosion des prix moyens unitaires

    Négociations globales, à des conditions uniques, pour l'ensemble des implantations étrangères de la grande distribution qui se concentre et crée des centrales d'achat européennes.

    Dépendance vis-à-vis du cours de certaines matières premières (plastiques)

    Augmentation temporaire de la marge brute en cas de diminution non répercutée des cours de ces matières premières.

    Peu de marge de man_uvre pour répercuter les hausses de cours des matières premières sur les prix de vente (érosion du taux de marge brute).

    Rapports de force avec les fournisseurs (chimie très concentrée)

    Ticket d'entrée élevé (coût de référencement, marketing, publicité, investissements dans l'outil industriel, conception et recherche).

    Avantage concurrentiel des marques leaders.

    Nécessité de réaliser de gros volume compte tenu de marges unitaires faibles.

    Deux sociétés françaises indépendantes (Moulinex, Seb) spécialistes du PEM leader dans une industrie de l'électroménager concentrée (80 % de parts de marché européen détenues par cinq fabricants)

    Des marques de notoriété mondiale.

    Des cibles potentielles pour les grands groupes d'électro-ménager.

    Des sites de production majoritairement implantés en Europe.

    Proximité des sites de production et des zones de consommation (l'Europe est le premier marché mondial d'électroménager).

    Coûts de production élevés.

    A l'international, importance des frais de transport et délai d'approvisionnement pénalisant (contrainte moins forte sur le PEM que sur le gros électroménager).

    Impact des effets de change

       

    .../...

    Des taux d'équipement encore faibles dans de nombreux pays

    Déploiement international vers des pays se trouvant en phase de premier équipement en PEM, permettant aux groupes de réduire leur dépendance vis-à-vis des marchés murs.

    Lourds investissements pour l'implantation locale de sites de production (Brésil, Chine).

    Frais de transport élevés si choix de l'exportation directe.

    Adapter son offre aux habitudes locales (pour le PEM culinaire notamment) et aux pouvoirs d'achat locaux (produits d'entrée de gamme).

    Instabilité politique et économique des zones dites émergentes.

    Risques (Russie pour Moulinex).

Réponses du groupe Moulinex

Après l'acquisition de Krups en 1991, Moulinex a traversé une période difficile au cours de laquelle la pérennité de l'entreprise a été mise en jeu : recul du chiffre d'affaires entraînant une diminution de la profitabilité d'exploitation, lourdes charges financières conduisant à un résultat courant négatif, détérioration de la structure financière (taux d'endettement net à plus de 300 % à la fin de l'exercice 1993/1994).

En juillet 1994, des investisseurs sont entrés dans le capital de Moulinex SA et une augmentation de capital d'un milliard de francs a été réalisée afin d'assainir la structure financière (taux d'endettement net ramené à 106,4 % à la fin de l'exercice 1994/1995 contre 316,6 % à la fin de l'exercice précédent). Afin de redresser l'entreprise, un plan de restructuration industrielle et de reconquête commerciale a été mis en place dont les principales mesures sont les suivantes.

    · Réponses défensives

Moulinex vise à réduire les coûts de production et recherche des gains de productivité. L'objectif annoncé en 1996 visait une réduction de 15 % des coûts d'achat, de 25 % des autres coûts industriels et de 10 % des frais logistiques.

Dans cette optique, Moulinex a rationalisé son système de production ce qui s'est traduit par :

      · la fermeture de sites en 1994 et 1995 à Birmingham en Angleterre, en Pologne et en 1997 en France (Mamers et Argentan). L'usine de Limerick en Irlande devrait être fermée en 1999 suite à la diminution d'activité du groupe liée à l'arrêt des livraisons en Russie ;

      · un transfert de production à partir de 1995 vers les usines espagnoles et mexicaine pour les produits pour lesquels les exigences des marchés locaux ou les impératifs de compétitivité interdisent une fabrication aux standards français ou allemands (coût de main-d'_uvre élevé). Parallèlement, la production de produits finis à forte valeur ajoutée, dont les composantes qualification et compétence de la main-d'_uvre et l'accès aux nouvelles technologies sont importantes, est concentrée sur les usines françaises et européennes ;

      · la spécialisation des sites de production par produit afin de limiter les flux de produits et des composants, d'accroître les volumes, de diminuer les délais de conception et d'abaisser les prix de revient (effets d'échelle). La réorganisation industrielle donne désormais la configuration suivante : Alençon est devenue la seule usine européenne de cafetières entrée et milieu de gamme et de fers milieu et haut de gamme ; Fresnay produit les bouilloires (sauf pour le Royaume-Uni) ; Bayeux est la seule usine de friteuses en Europe ; Cormelles est spécialisée dans la fabrication de fours et fours à micro-ondes ; le pôle Mayenne/Villaines et Falaise restent spécialisés sur leurs productions respectives de préparation alimentaire et d'aspirateurs ; le pôle Saint-Lô/Carpiquet rassemble les activités composants électroniques et moteurs ;

      · la réduction des surfaces, des stocks d'encours, des rebuts sur chaque site et la rationalisation des lignes de production afin d'obtenir des gains de productivité au sein des usines.

Le groupe s'est recentré sur son c_ur de métier (assemblage, plastiques, moteurs, outillage, électronique) entraînant :

      · la cession de sa branche de climatisation en 1994 ;

      · l'externalisation d'activités depuis 1996 (sous-traitance de l'injection plastique chez Plastivaloire, externalisation de la production de ressorts, de boutons poussoirs et d'interrupteurs jusqu'alors produits dans l'usine de Saint-Lô, des résistances blindées auparavant fabriquées dans l'usine de Cormelles, du décolletage, de la fonderie, du chromage, etc.). Le groupe a rompu avec une logique d'intégration industrielle.

L'amélioration des coûts et conditions d'achat constitue un troisième axe. Pour cela, le groupe a réduit de 50 % le nombre de fournisseurs de matières, composants et achats industriels (6 200 en 1996 contre 3 776 en 1998) et accéléré de 50 % le taux de rotation des stocks de matières premières (22 jours en 1996). Cette réduction permet une concentration des volumes négociés, une standardisation des composants et donc des prix d'achats plus avantageux. Ce mouvement devrait se poursuivre dans le cadre du panel 2000. Moulinex vise aussi des accords de partenariats entraînant une participation des fournisseurs au développement de ses nouveaux produits afin de réduire les temps de mise sur le marché.

La logistique a été concentrée avec deux plates-formes européennes (Caen en France et Solingen en Allemagne) chargées de l'expédition vers les pays d'Europe du Nord des produits de Moulinex et Krups.

Enfin, un downsizing a été entrepris avec une réorganisation interne autour de neuf grandes directions éliminant ainsi les structures intermédiaires (Business Units, Lignes de produits, Directions commerciales des différentes marques). Les équipes commerciales sont par ailleurs devenues multimarques (Moulinex et Krups en Europe, au Canada et au Mexique), multiproduits et multiréseaux sauf dans les pays où les marques occupent des parts de marché importantes (exemple : Krups en Allemagne).

    · Réponses offensives

Parallèlement à un impératif mouvement de réduction des coûts, Moulinex a porté ses efforts sur le déploiement commercial de ses deux principales marques, Moulinex et Krups afin d'accroître les ventes. Dans cette optique, deux grands chantiers ont été mis en _uvre : l'innovation-produit et l'expansion géographique commerciale et industrielle.

Dès novembre 1994, une direction Marketing avait été mise en place pour accélérer l'innovation-produit, l'objectif étant de réaliser 30 % du chiffre d'affaires annuel avec les produits nouveaux (contre moins de 10 % en 1994/1995). A la fin de l'exercice 1997/1998, la proportion de produits nouveaux dans le chiffre d'affaires atteignait 25 %. Moulinex a renforcé ses équipes de R&D, à 300 personnes en 1998 (contre 165 en 1989), et procédé à un regroupement des services (les bureaux d'études ont été concentrés en France et en Espagne, toute l'équipe design est regroupée à Caen). Le budget annuel demeure équivalent à 2 % du chiffre d'affaires. Le nombre de brevets déposés en France diminue (27 en 1997 contre 39 en 1995) mais les brevets à l'étranger sont passés de 61 en 1995 à 144 en 1997 reflétant la démarche de déploiement international du groupe.

Les axes d'innovation de Moulinex sont l'introduction dans tous les appareils de la couleur et de l'électronique (pour une simplification des fonctions). Parallèlement à ce renforcement de l'innovation produit, générant l'apparition de nouvelles références, le groupe a procédé à une réduction du nombre de références pour ne pas alourdir ses stocks.

L'expansion géographique commerciale et industrielle s'est traduite par :

    · la création de filiales de distribution (Belgique en 1995, Pologne, Hongrie, République tchèque en 1997) ;

    · la création d'une joint-venture industrielle en Chine en mai 1997  (micro-ondes produits à Xiaolan) ;

    · l'implantation d'une base logistique à Laredo au Texas en 1997/1998 ;

    · la signature d'un accord de joint-venture commercial en Grèce en février 1998 ;

    · la prise de contrôle en mars 1998 de Mallory, fabricant brésilien de petit électroménager réalisant un chiffre d'affaires annuel d'environ 50 millions de francs (troisième en termes de parts de marché au Brésil), dont la vocation est de servir de base à un développement dans le Mercosur.

Le groupe accélère son déploiement international depuis 1997 en y consacrant des ressources financières importantes. Le retour à une capacité bénéficiaire positive et l'assainissement de sa structure d'endettement lui permettent d'engager des investissements industriels et de croissance externe. Moulinex tend à privilégier des implantations industrielles et non pas seulement commerciales afin de :

    · localiser les productions le plus proche possible des grandes zones de consommation (exemples : l'Amérique latine à partir du Mexique et du Brésil) ;

    · répondre aux exigences logistiques (courts délais d'approvisionnement) des distributeurs ;

    · améliorer ses marges et limiter son exposition aux effets de change.

Enfin, le groupe a lancé des campagnes de publicité destinées à rajeunir la marque Moulinex.

Gestion de périmètre

Quatre phases se dégagent dans la gestion de périmètre du groupe Moulinex sur les dix dernières années :

    · jusqu'en 1993, Moulinex a significativement élargi son périmètre par l'acquisition ou la création de filiales étrangères, de distribution majoritairement. 1991 a été marquée par une opération d'envergure, l'acquisition du fabricant allemand Krups. Cette étape marque une inflexion majeure dans l'internationalisation du groupe ;

    · durant la période suivante (1994-1996), Moulinex a procédé à des cessions, dissolutions ou absorptions de filiales dans le cadre du plan de restructuration mis en place en 1994. En particulier, des sociétés Krups ont été regroupées avec des filiales Moulinex localisées dans le même pays ;

    · le groupe se déploie à l'international en multipliant les créations de filiales à partir de 1996. Cette démarche se poursuit avec la mise en place en mai 1997 d'une joint-venture industrielle en Chine et la signature en février 1998 d'une joint-venture commerciale en Grèce ;

    · Moulinex renoue avec la croissance externe en 1998 avec l'acquisition en avril de Mallory.

Les modifications de périmètre

    Date

    Sociétés

    Opérations

    Pourcentage d'intérêts

    1988

    Swan Housewares Ltd
    (Royaume-Uni)

    Acquisition

    100 %

    1988/1989

    GMX Irlande

    Prise de participation

    12,1 %
    mais 51 % droits de vote

     

    Moulinex Italia

    Acquisition /création

    100 %

     

    Itam Srl (Italie)

    Acquisition

    100 %

     

    Girmi Spa (Italie)

    Acquisition

    100 %

     

    Albacan BV (Pays-Bas)

    Acquisition

    100 %

     

    Moulinex Espagne

    Cession de titres

    de 63,9 % à 60,9 %

    1989/1990

    Vistar (Mexique)

    Augmentation
    de participation

    de 31,9 % à 74,5 %

     

    Moulinex Espagne

    Cession de titres

    de 60,9 % à 60,1 %

    1990/1991

    Krups (Allemagne)

    Acquisition
    pour 441,2 millions de francs

    100 %

     

    Moulinex Espagne

    Augmentation
    de participation

    de 60,1 % à 65,6 %

     

    Vistar (Mexique)

    Augmentation
    de participation

    de 74,5 % à 100 %

     

    Moulinex Portugal

    Augmentation
    de participation

    de 77,9 % à 84,6 %

     

    GMX Irlande

    Augmentation
    de participation

    de 12,1 % à 23,6 %
    (51 % droits de vote)

    1992

    Jump (Allemagne)

    Acquisition/création

    100 %

     

    STH (Pays-Bas)

    Acquisition/création

    51 %

     

    Krups (Espagne)

    Création

    100 %

     

    Krups (Portugal)

    Création

    100 %

     

    Regal Swan

    Prise de participation

    50 %

     

    Lifestyle (Etats-Unis)

    Cession

     

    1993/1994

    Balcan (France)

    Acquisition/création

    100 %

     

    Normex (Norvège)

    Acquisition/création

    100 %

     

    Itam (Italie)

    Cession

     

    1994/1995

    Krups (Italie)

    Cession

     
     

    Girmi (Italie)

    Cession

     
     

    Moulinex Appliances (EU)

    Cession

     
     

    Krups Mexicana

    Cession

     
     

    Moulinex Belgique

    Création

     
     

    Moulinex Espagne

    Augmentation
    de participation

    de 65,6 % à 70 %

Date

Sociétés

Opérations

Pourcentage d'intérêts

1995/1996

Balcan

Dissolution

 
 

Pan Electric (Allemagne)

Absorption par une autre société du groupe

 
 

Jump (Allemagne)

Absorption par une autre société du groupe

 
 

Regal-Swan (RU)

Cession

 
 

Krups Danemark

Absorption par une autre société du groupe

 
 

Moulinex Espagne

Augmentation
de participation

de 70 % à 99,5 %

 

Krups Espagne

Diminution de la participation

de 100 % à 99,5 %

 

MX K (Portugal)

Augmentation
de participation

de 86,5 % à 99,5 %

 

Krups Portugal

Absorption par une autre société du groupe

 

1996/1997

Krups France

Absorption
par Moulinex SA France

 
 

Moulinex BV (Pays-Bas)

Dissolution

 
 

Krups Espagne

Absorption
par Moulinex Espagne

 
 

MX K Sp.z.o.o (Pologne)

Création

100 %

 

M-K Kereskedelmi (Hongrie)

Création

100 %

 

Moulinex Krups sro

Création

100 %

1997/1998

Moulinex China

Création joint-venture

65 %

 

Ukam Ltd (RU)

Dissolution

 

1998/1999

Grèce

Création joint-venture

nd

 

Mallory (Brésil)

Acquisition

80 %

Enjeux et perspectives

Cinq enjeux clés peuvent être relevés pour le groupe Moulinex.

    · Résister aux pressions concurrentielles

Ces pressions concurrentielles sont exercées indirectement par les fabricants asiatiques. Leur menace s'est accentuée au cours des dernières années car ils ont implanté des unités de production en Europe éliminant de ce fait leur principale faiblesse : un délai de livraison à la grande distribution plus long que celui des producteurs européens disposant de sites de production à proximité des lieux de consommation.

Cette concurrence asiatique est renforcée  :

· par la grande distribution qui les référence pour proposer des produits d'appel ou développer une offre sous MDD (marques de distributeurs) ;

· parfois par des fabricants européens qui importent des articles d'Asie et les vendent sous leur marque (exemple : des sèche-cheveux Calor du groupe Seb en provenance de Chine).

La capacité de résistance des fabricants européens réside en l'innovation produit qui permet de différencier l'offre et de justifier un écart de prix avec les produits premiers prix : le lancement par Moulinex de la gamme Ovatio dans les robots en 1997 lui a permis de prendre des parts de marché mais également de redynamiser ce segment de marché ; l'aspirateur super compact, lancé par le concurrent Rowenta, a rencontré un vif succès et tiré le marché en valeur. Toutefois, plusieurs segments de produits (micro-onde, sèche-cheveux) restent encore dominés par des produits asiatiques et sont soumis à un phénomène de déflation dans tous les pays.

Notons également que la mise en application de la loi Galland en France (interdiction de la revente à perte) risque d'accroître l'avantage compétitif des produits asiatiques face aux producteurs européens qui doivent désormais réduire le montant des rabais et remises consentis à la grande distribution.

    · Améliorer les marges d'exploitation dans un contexte d'intensification de la concurrence et de spirale baissière des prix

Moulinex doit gérer les contraintes suivantes :

    _ une pression à la baisse des prix de vente unitaires ;

    _ une augmentation des frais de R&D et de marketing/promotion pour financer l'innovation produit et renouveler leur offre ;

    _ un accroissement des frais commerciaux (coûts de référencement, dépenses liées à l'ouverture de filiales de distribution, etc.) en corrélation avec l'expansion géographique du groupe ;

    _ des aléas conjoncturels pesant sur la croissance (exemples : Brésil, crise russe).

Toutes ces contraintes pèsent sur les marges d'exploitation des groupes. C'est pourquoi, la recherche d'économies de coûts afin de restaurer les marges est orientée sur les achats, la production, la logistique ou encore les structures commerciales. Seb et Moulinex ont tous les deux entrepris des actions de réorganisation interne, de spécialisation des sites industriels, etc. Ces mesures sont nécessaires mais pas suffisantes, les projets comportent ainsi une dimension offensive pour accroître les volumes et améliorer le mix-produit.

    · Désaisonnaliser l'activité

Les ventes de PEM sont concentrées sur le troisième trimestre de l'année (un tiers du chiffre d'affaires de Moulinex sur ce trimestre) en raison de l'approvisionnement des distributeurs pour les fêtes de fin d'année. L'autre pic se situe avant la fête des mères. Cette saisonnalité demande aux fabricants une flexibilité de leur outil de production et surtout une logistique performante afin d'assurer les livraisons dans les plus brefs délais.

L'enjeu de désaisonnalisation requiert une augmentation de l'animation commerciale et des opérations promotionnelles mais l'accroissement des dépenses marketing et publi-promotionnelles pèse sur les marges des fabricants.

    · Equilibrer géographiquement ses activités

Moulinex réalise 80 % de son chiffre d'affaires en France et dans les autres pays européens (Europe de l'Est comprise, celle-ci représentant 12,6 % du chiffre d'affaires total du groupe). L'ambition du groupe est de dégager à court terme 40 % de ses ventes hors d'Europe.

Le faible taux d'équipement en PEM dans certains pays et leur potentiel démographique incitent les groupes à développer leur présence commerciale dans les zones dites émergentes (Asie, Amérique Latine). Moulinex réalise une part significative de son chiffre d'affaires en Europe de l'est et mise aujourd'hui sur la Chine, l'Inde, l'Argentine ou encore la Turquie. Toutefois, ces économies sont fragiles et s'y implanter durablement n'est pas exempt de risques (l'arrêt des livraisons à la Russie devrait entraîner un recul d'environ 300 millions de francs du chiffre d'affaires de Moulinex sur l'exercice 1998/1999 et peser sur le résultat d'exploitation).

    · Réduire la sensibilité aux variations de change

Les sites de production de Moulinex étaient jusqu'à une date récente localisés essentiellement en Europe dans des pays à monnaie forte. Parallèlement, l'activité s'est développée vers les zones à monnaie faible d'où un effet de ciseau lors de l'appréciation des devises européennes et une perte de compétitivité prix. L'implantation d'unités de production dans les nouvelles zones de commercialisation (en Asie, Amérique latine), outre le fait d'être plus proches des lieux de consommation et de limiter les délais de transport, permet de réduire ces effets de change puisque la monnaie de facturation devient la même que celle de production.

Le plan de restructuration et de reconquête engagé par Moulinex lui a permis de restaurer sa profitabilité d'exploitation sur les deux derniers exercices mais la stabilisation de l'entreprise n'est pas encore intervenue. L'ensemble des mesures prises a rétabli des bases solides mais le groupe entre dans une phase d'investissements plus soutenus et consommatrice de liquidités d'où la nécessité de dégager des marges croissantes, un enjeu auquel Moulinex aura du mal à répondre en 1998/1999 en raison de la crise qui a touché la Russie.

Performances financières

Chiffre d'affaires

Le chiffre d'affaires consolidé est net des escomptes sur les exercices 1991 à 1998. Pour les exercices antérieurs, cette information n'est pas spécifiée. Depuis 1993, les exercices sont clos au 31 mars et non plus au 31 décembre d'où un exercice 1993 de 15 mois (du 1er janvier 1992 au 31 mars 1993). De ce fait, par convention, l'année retenue pour qualifier l'exercice est celle de la clôture (ceci explique qu'il n'y ait pas d'année 1992).

Evolution du chiffre d'affaires net

    En MF

    1988

    1989

    1990

    1991

    1993**

    1994

    1995

    1996

    1997

    1998

    Chiffre d'affaires net

    4 087,2

    5 126,0

    5 964,2

    8 297,1

    9 883,2

    8 047,7

    7 681,7

    7 787,9

    7745,7

    8 027,6

    Variation (%)

    + 21,3

    + 25,4

    + 16,4

    + 39,1

    ns

    ns

    - 4,5

    + 1,4

    - 0,5

    + 3,6

    Variation sur 12 mois

           

    - 0,7

    - 2,3

           

    Variation à taux de change et périmètre constant

    nd

    nd

    + 10,0

    + 7,8*

    nd

    nd

    - 1,4

    + 5,0

    - 0,8

    +1,6

* A périmètre constant et taux de change courant.

** 15 mois

    Source : Rapports annuels

Deux périodes se dégagent dans l'évolution du chiffre d'affaires de Moulinex au cours des dix dernières années :

    · de 1988 à 1991, le groupe enregistrait des taux de croissance à deux chiffres. L'effet périmètre a joué pour une part significative (acquisition du britannique Swan, de l'allemand Krups, montée en puissance dans Vistar et prises de participation dans des sociétés européennes) tandis que la croissance interne a été stimulée par les ventes de micro-ondes ;

    · à partir de 1993, le groupe connaît une érosion de son activité hormis deux rebonds en 1996 et 1998. L'effet périmètre joue également sur cette période, à la baisse en 1995 compte tenu des cessions italiennes, américaine et mexicaine, à la hausse en 1996 grâce à la consolidation de trois nouvelles filiales d'Europe de l'est. Les pressions à la baisse des prix expliquent pour l'essentiel le recul de chiffre d'affaires.

Les variations de change jouent sur l'évolution du chiffre d'affaires ; leur impact n'est pas quantifié pour chaque exercice.

L'internationalisation croissante du groupe augmente son exposition au risque de change. On peut noter qu'en 1998, l'effet de change a joué favorablement expliquant 2 % de la croissance du chiffre d'affaires (impact de la dépréciation du dollar par rapport au franc).

Evolution du chiffre d'affaires* par zone géographique

En MF

1988

1989

1990

1991

1993**

1994

1995

1996

1997

1998

France

1 226,2

1 435,3

1 550,7

1 691,0

2 003,0

1 775,1

1 701,5

1 762,7

1 665,3

1 696,3

Variation (%)

nd

+ 17,1

+ 8,0

+ 9,0

ns

ns

- 4,1

+ 3,6

- 5,5

+ 1,9

Europe
(hors France)

2 329,7

3 024,3

3 697,8

5 272,1

6 035,4

4 613,3

4 256,1

4 217,1

3 902,2

4 718,8

Variation (%)

nd

+ 29,8

+ 22,3

+ 42,6

ns

ns

- 7,7

- 0,9

- 7,5

+ 20,9

Reste du monde

531,3

666,4

715,7

1 394,3

1 900,5

1 709,8

1 724,1

1 808,1

2 178,2

1 612,5

Variation (%)

nd

+ 25,4

+ 7,4

+ 94,8

ns

ns

+ 0,8

+ 4,9

+ 20,5

- 26,0

* Chiffre d'affaires net des escomptes à partir de 1995.

** 15 mois

    Source : Rapports annuels

L'évolution du chiffre d'affaires par zone géographique se révèle irrégulière, au gré notamment des variations de périmètre qui ont profité à la zone Europe (hors France) et à l'Alena (prise de contrôle totale de Vistar au Mexique en 1991). Le groupe a enregistré la plus forte croissance de ses ventes hors d'Europe. La France et l'Europe ont suivi des cycles de croissance voisins, d'où la nécessité pour Moulinex de mieux équilibrer ses ventes par zone géographique. Le reste du monde a ainsi été un des moteurs sur la période avec cependant une nette inflexion à la baisse en 1998.

La modification la plus marquante dans la structure géographique du chiffre d'affaires depuis 1988 est la réduction de la contribution de la France (perte de dix points en dix ans) au profit de L'Europe (Europe de l'est comprise avec notamment la Russie, la Hongrie et la Pologne) et surtout du reste du monde. L'activité de Moulinex demeure néanmoins concentrée sur l'Europe occidentale, y compris la France, (67 % des ventes).

Structure du chiffre d'affaires par zone géographique

Marges

Evolution de la valeur ajoutée

    En MF

    1998

    1998

    1990

    1991

    1993*

    1994

    1995

    1996

    1997

    1998

    Valeur ajoutée

    1 720,1

    1 983,7

    2 369,5

    3 380,3

    4 084,8

    3 006,3

    2 810,1

    2 524,5

    2 562,0

    2 543,2

    Taux de VA (%)

    41,0

    37,0

    38,9

    38,4

    38,3

    38,4

    36,8

    32,1

    33,0

    31,0

    * 15 mois Source : Rapports annuels

Deux traitements n'ont pu être réalisés pour déterminer avec le plus d'exhaustivité la valeur ajoutée (1), polluant de ce fait l'analyse. Le poste production intègre des reprises de provisions et transferts de charge pour les exercices 1991 à 1997. A partir du 31 décembre 1991, des éléments exceptionnels (plus ou moins values de cessions d'actifs, pertes sur créances, etc.) ont été transférés dans les autres charges comprises dans les consommations intermédiaires et pèsent en conséquence sur la valeur ajoutée.

Sur la période, il ressort un recul de dix points du taux de valeur ajoutée (2). Les mesures entreprises pour réduire les coûts d'achats et de production ont eu un léger impact sur l'exercice 1997 : les renégociations des tarifs avec les fournisseurs ont permis de diminuer le montant des autres achats et charges externes.

En revanche, cet effet a été compensé en 1998 par un recours plus important à la sous-traitance (externalisation d'activités de Moulinex) gonflant le poste achats et charges externes. L'érosion des marges industrielles n'est pas enrayée.

Evolution des taux de marge

En %

1998

1989

1990

1991

1993*

1994

1995

1996

1997

1998

Taux de marge brute d'exploitation (1)

10,8

9,6

10,4

10,8

8,5

7,8

7,1

5,2

7,1

9,0

Taux de marge
d'exploitation (2)

5,8

6,4

6,2

6,0

3,2

0,5

1,5

0,7

2,1

4,0

Taux de marge nette (3)

4,3

3,5

2,7

2,1

- 1,3

- 7,4

- 2,9

- 9,0

0,4

2,6

    (1) EBE / chiffre d'affaires.

    (2) Résultat d'exploitation/chiffre d'affaires.

    (3) Résultat net/chiffre d'affaires.

    * 15 mois Source : Rapports annuels

L'exercice 1993 marque une inflexion dans l'évolution des performances d'exploitation de Moulinex ; tous les taux de marge s'effritent de 1993 à 1996. L'intégration de Krups conjuguée à un ralentissement de l'activité expliquent l'essentiel du recul de profitabilité de Moulinex. Le redressement du taux de marge brute d'exploitation à partir de 1997 est lié pour l'essentiel à la réduction des frais de personnel engendrés par le plan de restructuration mis en place en 1994.

Cette évolution au niveau de l'exploitation s'est trouvée amplifiée par une charge financière significative (4 % du chiffre d'affaires brut en 1994 ramené à 3 % en 1995). Moulinex a de plus passé d'importantes dotations aux provisions pour restructuration (608 MF en 1996). Le groupe a donc enregistré des pertes nettes sur quatre exercices consécutifs de 1993 à 1996.

Les deux exercices suivants (1997 et 1998) marquent une amélioration de la profitabilité du groupe qui aurait dû se poursuivre sur l'exercice 1998/1999 compte tenu d'une capacité bénéficiaire d'exploitation plus solide, d'une charge financière allégée grâce à un assainissement de la structure financière et de charges exceptionnelles réduites. Mais, la crise russe devrait entraîner un recul du chiffre d'affaires pour l'exercice 1998/1999 qui risque de masquer les effets des mesures de réduction de coûts d'exploitation. Le redressement du groupe est entamé (doublement du résultat d'exploitation en 1998) mais celui-ci reste fragile en raison d'une conjoncture instable.

Capacité d'autofinancement

Evolution de l'autofinancement

    En MF

    1998

    1989

    1990

    1991

    1993*

    1994

    1995

    1996

    1997

    1998

    Cumul

    EBE

    442,5

    492,5

    620,7

    898,8

    837,4

    627,0

    548,1

    407,1

    552,4

    721,2

    6 147,7

    - variation du BFR

    21,4

    353,0

    284,2

    397,7

    257,4

    - 572,0

    - 345,8

    - 82,9

    - 6,0

    - 166,4

    140,6

    - Investissements
    d'exploitation

    240,7

    376,7

    333,9

    545,3

    853,8

    269,3

    183,6

    246,8

    375,3

    452,3

    3 877,7

    Investissement/VA

    14,0

    19,0

    14,1

    16,1

    20,9

    9,0

    6,5

    9,8

    14,6

    17,8

     

    = DAFIC

    180,4

    - 237,2

    2,6

    - 44,2

    - 273,8

    929,7

    710,3

    243,2

    183,1

    435,3

    2129,4

    * 15 mois Source : Rapports annuels

Moulinex maintient un DAFIC (trésorerie disponible après investissements) positif de 1994 à 1998 grâce à une meilleure maîtrise de son BFR (réduction des stocks de produits finis grâce à une amélioration de la fonction logistique, mise en place d'un meilleur système de prévision pour fabriquer et distribuer rapidement, sous-traitance de certaines fabrications) et à un net ralentissement de ses efforts d'investissements. De 1994 à 1996, le taux d'investissement est tombé sous la barre des 10 % voire 7 %, un niveau loin des standards du groupe (entre 14 et 20 %). Cette phase temporaire de sous investissement a permis au groupe de reconstituer ses liquidités au moment où il amorçait une réorganisation industrielle profonde. En revanche, à partir de 1997, le groupe a renoué avec une politique plus active d'investissements nécessaire pour mener à bien la spécialisation des sites de production. En cumul, l'incidence du fléchissement du rythme d'investissements d'exploitation a été limitée.

Répartition de la valeur ajoutée

Sur les dix dernières années, la valeur ajoutée a été consacrée aux trois quart aux frais de personnel. Les frais financiers nets ont pesé sur la structure en 1994 pour revenir à une proportion plus raisonnable à 3 % en 1998. La rémunération des actionnaires a été quasi nulle tandis que la part versée aux impôts a disparu sur la dernière période compte tenu de la succession de quatre exercices déficitaires.

On peut souligner en 1998 la capacité du groupe à consacrer une part importante (un quart) de la valeur ajoutée à l'entreprise, ce qui est nécessaire pour restaurer les marges de man_uvre financières.

Répartition de la valeur ajoutée

    1988

    1994

    1998

Coûts de restructuration

Evolution des coûts de restructuration

    En MF

    1994

    1995

    1996

    1997

    1998

    Charges & dotations nettes
    aux provisions pour restructuration

    150,0

    58,2

    608,4

    0

    0

    Part du résultat d'exploitation (%)

    368,0

    50,0

    1 120,0

    0

    0

    Source : Rapports annuels

Moulinex a provisionné des coûts de restructuration en 1994 dans le cadre du plan de restructuration qui prévoyait notamment la fermeture des sites britannique et polonais. En 1995, il a enregistré des charges pour des plans de restructuration complémentaires en Allemagne, Irlande et Angleterre (20 MF sur Regal Swan cédé au cours de l'exercice suivant)

En 1996, dans le cadre du plan de reconquête, le groupe a passé une dotation aux provisions devant être utilisée sur trois ans. Elle a été consommée à hauteur de 127 millions de francs en 1997 et de 328 millions en 1998. Le groupe est presque en phase d'achèvement de ses plus lourdes restructurations.

Politique de distribution

Poids de la distribution dans la valeur ajoutée et taux de distribution des bénéfices

    En MF

    1988

    1989

    1990

    1991

    1993*

    1994

    1995

    1996

    1997

    1998

    Dividendes versés en N

    2,4

    7,2

    8,7

    89,2

    73,2

    1,5

    0

    3,7

    4,9

    6,0

    Distribution / VA (%)

    0,1

    0,4

    0,4

    2,6

    1,8

    0,0

    0,0

    0,1

    0,2

    0,2

    Taux de distribution * (%)

    12,5

    4,1

    4,8

    55,6

    42,8

    ns

    0,0

    ns

    ns

    20,8

* 15 mois

(1) distribution effective de l'année N (y. c. distribution des minoritaires) en comparaison du résultat de l'année N - 1.

    Source : Rapports annuels

Seuls les exercices 1990 et 1991 ont donné lieu à versement de dividendes aux actionnaires de Moulinex et ont été mis en paiement sur les exercices 1991 (au 31 décembre) et 1993 (au 31 mars). Le montant du dividende était fixé à 4 francs par action plus un avoir fiscal de 2 francs par action. Depuis, aucune distribution n'a été proposée.

Depuis 1996, les dividendes sont versés uniquement aux minoritaires. La situation financière du groupe ne permet pas la rémunération des actionnaires.

Charge d'impôt

Evolution de la charge d'impôt

    En MF

    1988

    1989

    1990

    1991

    1993*

    1994

    1995

    1996

    1997

    1998

    Cumul

    Résultat
    imposable (1)

    226,3

    231,0

    188,4

    194,3

    - 134,5

    - 573,7

    - 204,1

    - 694,5

    34,8

    207,8

    - 524,2

    Impôts
    exigibles

    nd

    51,0

    34,4

    nd

    17,8

    21,8

    12,7

    2,2

    0,3

    5,1

    145,3

    Impôts
    différés
    et crédit d'impôt

    nd

    - 2,3

    - 6,6

    nd

    - 26,4

    - 1,1

    1,2

    - 2,2

    - 2,6

    - 8,9

    - 48,9

    Impôts
    comptables

    49,6

    48,7

    27,8

    18,8

    - 8,6

    20,7

    13,9

    0

    - 2,3

    - 3,8

    164,8

* 15 mois

(1) avant amortissement des écarts d'acquisitions et quote-part dans les SME.

    Source : Rapports annuels

L'impôt sur les sociétés est calculé au taux de chaque pays où Moulinex détient des filiales. Moulinex SA constate depuis 1991 sur chaque exercice un crédit d'impôt sur les éléments fiscalement différés (congés payés, indemnités de départ en retraites). En revanche, aucun crédit n'est constaté sur les amortissements réputés différés et les déficits fiscaux. Sur les quatre derniers exercices, le groupe paye peu d'impôts en raison des reports déficitaires accumulés dans les différents pays (1,5 milliard de francs en 1995).

Rentabilités

Evolution des rentabilités économique et financière

    En %

    1988

    1989

    1990

    1991

    1993*

    1994

    1995

    1996

    1997

    1998

    Rentabilité économique (1)

    23,3

    19,3

    20,8

    18,9

    16,2

    14,7

    14,6

    11,4

    15,3

    21,2

    Rentabilité financière (2)

    18,3

    15,8

    12,3

    10,5

    - 9,2

    - 77,0

    - 15,4

    - 93,5

    2,2

    13,6

* 15 mois

    (1) EBE/Immobilisations corporelles nettes + BFR exploitation.

(2) Résultat net/fonds propres.

    Source : Rapports annuels

L'érosion de la rentabilité d'exploitation de 1991 à 1996 est imputable à un gonflement des immobilisations corporelles nettes résultant de l'élargissement du périmètre du groupe et des investissements industriels. Par la suite, le BFR d'exploitation a été contenu sur la période grâce à des actions de réduction de stocks. Ceci, conjugué à l'amélioration des performances d'exploitation a permis au groupe de retrouver un taux 1998 de rentabilité économique élevé de plus de 20 %.

Quatre exercices déficitaires successifs ont pesé sur la rentabilité financière du groupe. La situation s'est fortement améliorée en 1998 compte tenu du doublement du résultat d'exploitation et de l'absence de lourdes charges nettes de restructuration. Ce taux frise la norme haute cible des investisseurs, à savoir 15 %.

Structure financière

Evolution de la structure financière

    En %

    1988

    1989

    1990

    1991

    1993*

    1994

    1995

    1996

    1997

    1998

    Taux d'endette-ment (1)

    61,0

    94,2

    99,8

    134,4

    209,5

    316,6

    106,4

    201,6

    83,2

    74,7

    * 15 mois

    (1) Endettement net/Fonds propres Source : Rapports annuels

Moulinex a retrouvé une structure financière assainie en 1997. La détérioration enregistrée de 1991 à 1996 qui a mené le groupe au bord de l'asphyxie financière (en 1994 notamment) résultait de deux facteurs :

    · un recours à la dette financière long terme pour financer les acquisitions du début de période, en particulier Krups. De plus en 1991, Moulinex a consolidé 595,4 millions de francs de dettes financières supplémentaires contractées auparavant par Krups ;

    · la succession de quatre exercices déficitaires (1993 à 1996), le déficit net venant s'imputer sur les capitaux propres (report à nouveau).

Moulinex a été recapitalisé à deux reprises :

    · en juillet 1994, des investisseurs sont entrés dans le capital de Moulinex SA et une augmentation de capital d'un milliard de francs a été réalisée afin d'assainir la structure financière (taux d'endettement net ramené à 106,4 % à la fin de l'exercice 1994/1995 contre 316,6 % à la fin de l'exercice précédent). Les nouveaux actionnaires ont participé à l'augmentation de capital à hauteur de 400 MF et au remboursement de la dette financière pour 100 MF ;

    · au cours de l'exercice 1996/1997, la restructuration financière a été assurée par une augmentation de capital de 525 millions de francs, couplée à une renégociation de la dette bancaire de Moulinex SA qui a conduit à la mise en place d'un prêt syndiqué sur trois à cinq ans pour 1,2 milliard de francs signé par 9 banques.

En cumul, sur la période, la contribution des actionnaires au financement de Moulinex approche les 2 milliards de francs.

Evolution du financement à long terme

    En MF

    1988

    1989

    1990

    1991

    1993*

    1994

    1995

    1996

    1997

    1998

    Cumul

    Variation
    des
    dettes financières MLT

    - 17,9

    - 37,5

    - 58,1

    + 687,3

    + 335,7

    + 40,3

    - 805,1

    + 145,4

    - 305,9

    + 88,3

    + 72,5

    Augmentation de
    capital

    0

    + 68,1

    + 14,5

    + 230,4

    + 43,4

    + 2,0

    + 977,1

    + 14,0

    + 516,2

    + 22,8

    + 1 888,5

    * 15 mois Source : Rapports annuels

Cours boursier du titre

Graphique boursier Moulinex

Le parcours boursier du titre Moulinex, coté à la bourse de Paris au règlement mensuel, se révèle plus chaotique que celui de l'indice SBF 120. L'acquisition de Krups en 1991 a été très bien accueillie par les investisseurs faisant doubler le cours en un an. Le pic a été atteint à plus de 180 francs à l'annonce des résultats de l'exercice 1998 à l'issue duquel Moulinex renouait avec la profitabilité.

Depuis la mi-1998, le cours du titre recule pour atteindre son plus bas niveau de la période le 29 janvier 1999 à 63,6 francs (63,3 francs le 31 décembre 1992). Les crises russe et asiatique (bien que le groupe affirme ne pas y être significativement exposé) venues perturber le redressement du groupe expliquent cette évolution.

La politique d'investissement

Le dispositif industriel de Moulinex

Les implantations industrielles en 1996

    Sites

    Produits

    France

    Production 1996 : 3 315 millions de FRF

    Alençon

    cafetières, expresso, fers, beauté/santé

    Mamers

    cafetières, fers, batteurs, hachoirs, PPC, gamme bébé

    Carpiquet

    fours à micro-ondes

    Caen

    fours à micro-ondes, fours traditionnels

    Argentan

    fours traditionnels, friteuses

    Bayeux

    friteuses

    Fresnay

    bouilloires

    Falaise

    aspirateurs

    Saint-Lô

    mixers, batteurs, ouvre-boîtes,

    Mayenne

    robots, hachoirs, gamme bébé, moulinettes

    Villaines

    robots, blenders

    Egypte

    Production 1996 : 25 millions de FRF

    Le Caire

    n.d.

    Mexique

    Production 1996 : 140 millions de FRF

    Celaya

    cafetières, moulin à café, moulinettes, blenders

    Allemagne

    Production 1996 : 295 millions de FRF

    Solingen

    cafetières, expresso

    Espagne

    Production 1996 : 400 millions de FRF

    Urnieta

    mixers, batteurs, centrifugeuses, moulinettes, blenders

    Barbastro

    toasters, centrifugeuses, blenders

    Irlande

    Production 1996 : 310 millions de FRF

    Limerick

    batteurs, trancheuses, PPC

    Thurles

    mixers, PPC, moulins à café, gamme bébé

    Total

    Production 1996 : 4 485 millions de FRF

    Source : Compte rendu PRP

Les difficultés rencontrées par le groupe Moulinex l'ont conduit en 1996 à revoir son organisation industrielle et restructurer les différents sites de production.

L'outil industriel comptait alors un nombre trop important de sites ce qui se traduisait par :

    · un manque de spécialisation des unités de production en 1996 puisque le constructeur regroupait 23 métiers. Pour exemple, les 16 millions de moteurs produits par le groupe étaient fabriqués sur 15 lignes et 9 sites en Europe ;

    · l'impossibilité de remettre à niveau l'ensemble des usines. Aussi, la seule remise à niveau des lignes moteurs aurait impliqué entre 750 et 825 millions de francs d'investissement ;

    · une surface d'exploitation disproportionnée (400 000 mètres carrés) ;

    · des flux logistiques inter-usines trop coûteux (17 millions de francs).

Il a alors été décidé de découper l'organisation industrielle en trois zones (Europe, Asie et Amérique) et parallèlement de focaliser le groupe sur ses métiers c_urs (moteurs électriques, électronique, injection plastique de pièces d'aspect et l'assemblage) avec en support à ces métiers quelques activités annexes (moules, outillage, découpe et traitements de surface). La situation en 1998 retrace les efforts industriels entrepris par Moulinex dans le cadre du plan de reconquête de la performance. Plusieurs opérations ont ainsi été externalisées et le nombre de fournisseurs réduit après mise en concurrence.

Les implantations industrielles en 1998 (après rachat de Mallory)

    Sites français

    Production

    Saint-Lô

    composants pour le groupe

    Carpiquet

    fours à micro-ondes, moteurs

    Alençon

    cafetières et fers pour l'ensemble de l'Europe

    Fresnay

    bouilloires pour l'Europe excepté Royaume-Uni, appareils à mains

    Mayenne

    robots, hachoirs, gamme bébé, moulinettes

    Villaines

    robots, blenders

    Falaise

    aspirateurs

    Caen

    fours à micro-ondes, fours traditionnels

    Bayeux

    friteuses pour l'Europe

    Egypte

    Le Caire

    Mexique

    Celaya

    Brésil

    2 usines

    Allemagne

    Solingen

    Espagne

    Urnieta, Barbastro

    Irlande

    Limerick, Thurles

    Chine

    Daoxian (four micro-ondes)

    Source : rapports annuels

Deux sites ont été fermés en France en 1997 (Mamers et Argentant) et une usine créée par le biais d'un joint-venture en Chine. Le rachat de Mallaury en avril 1998 a également accru le parc industriel de deux usines (19 au total).

Il est par ailleurs prévu :

    · en 1998/99 de transférer le site d'Alençon sur un nouveau site créé ex-nihilo, celui-ci ne permettant pas de produire dans des conditions de compétitivité suffisante pour assurer la pérennité des activités actuelles ;

    · de regrouper la fabrication de micros ondes sur un seul site en 1998/99 ;

    · de poursuivre la spécialisation des sites (par produits/technologies).

Dynamique d'investissement de Moulinex

Les investissements industriels du groupe

Evolution des investissements industriels (1) du groupe Moulinex

(1) Les investissements industriels comprennent les investissements d'exploitation et de recherche et développement.

* Exercice sur 15 mois Source : Rapports annuels

L'évolution des investissements industriels fait apparaître une nette dégradation sur la période 1993-1996, période de récession pour le groupe Moulinex qui affichait des pertes récurrentes.

Il faut attendre 1996 et la mise en place du Plan de Reconquête de la Performance (PRP) pour que le cycle s'inverse et que les investissements repartent. Ceci s'explique par :

    · les investissements relatifs au PRP (arrêts d'activité dans certains sites de production, spécialisation des sites) ;

    · l'augmentation des capacités de production pour certaines usines avec la construction de nouvelles lignes.

L'effort d'investissement du groupe

Evolution du taux d'investissement

* Exercice sur 15 mois Source : Rapports annuels

Les investissements annuels entre 1,6 et 0,4 fois le montant des dotations aux amortissements traduisent :

    · dans le premier cas une dynamique investisseuse (investissements supérieurs aux dépréciations comptables) ;

    · dans le second cas une volonté de réduire les investissements dans une période de difficultés financières et de restructuration au détriment du renouvellement de l'outil de production.

La période de difficulté rencontrée par le groupe et les déficits récurrents sur la période 1993-1996 se reflètent dans l'analyse des niveaux d'investissement. Le taux d'investissement se tasse très nettement sur la période passant en 1994 à 2,9 %. Il faut alors attendre 1997 pour constater un retour à un niveau significatif.

La mise en place du PRP courant 1996 explique le retour à une dynamique positive. Moulinex est effectivement entré dans une phase d'investissements importants et constants avec pour objectif de concentrer les unités de production tout en restructurant les usines d'accueil.

Le groupe doit disposer de lignes permettant la production de ses nouveaux produits et remettre à niveaux certaines installations.

Répartition des investissements 1998

    Source : D.R.H. Groupe

Sur l'exercice 1998, les rénovations de l'outil de production ont essentiellement concerné les établissements de Bayeux et Cormelles :

    · réhabilitation d'une première partie de Cormelles et du bâtiment de fabrication des fours à micro-ondes ;

    · extension et réhabilitation de l'usine de Bayeux et de la ligne moteurs 64 S.

Le site de Cormelles bénéficiera de nouveau en 1998/1999 des efforts d'investissements avec le regroupement de la fabrication des fours micro-ondes des autres sites du groupe à Cormelles. Il faut toutefois noter la présence de la nouvelle usine chinoise dans le périmètre d'activité de Moulinex, usine dont la production concerne également les fours micro-ondes.

Quand aux engagements dans les produits nouveaux, ceux-ci ont essentiellement concerné pour l'exercice :

    · le four micro-onde « 17 l allégé »,

    · le fer N°5,

    · le batteur EasyMax.

A l'avenir, une fois la page des restructurations tournée, le groupe devrait davantage allouer ses budgets aux investissements de productivité.

    · La progression des investissements en R&D

Evolution des investissements de recherche et développement du groupe Moulinex

    Source : Rapports d'activité

L'un des axes stratégiques du groupe est l'adoption d'une politique marketing produit agressive basée sur la conception et la production régulière de nouveaux produits. La part consacrée aux innovations compte pour 36 à 38 % dans les investissements industriels totaux de Moulinex. Par ailleurs, le constructeur compte, a priori, conserver un tel niveau pour son poste de R&D.

La part du chiffre d'affaires réalisée par les nouveaux produits chaque année justifie une telle démarche.

Part du chiffre d'affaires réalisée par les nouveaux produits

    Source : Rapports d'activité

L'innovation est un levier de croissance sur les ventes. Les nouveaux produits assurent de manière régulière près du quart du chiffre d'affaires du groupe et sont une réponse à l'érosion des prix.

Lancements de nouveaux produits

    1997

    1998

    · friteuse Supremia

    · aspirateurs Powerpack et Powerjet

    · bouilloire Aqualia

    · micro-onde Optimo-duo

    · expresso Novo 400 progomatic

    · gamme de robots Ovatio

    · micro-ondes Optimo Dialog

     

    · hygiène dentaire de Krups

     

    Source : rapports d'activité

    · Les investissements financiers

Les investissements financiers (millions de francs)

* exercice sur 15 mois Source : Rapports annuels

L'unique opération de croissance externe significative sur la décennie 1988-1998 est le rachat de Krups en 1991. En 1997, Moulinex a développé une joint-venture industriel en Chine suivi en 1998 d'un joint-venture commercial en Grèce.

Le 3 avril 1998 (exercice 1999), Moulinex a pris au Brésil le contrôle de la société Mallory, troisième constructeur de petit électroménager du pays (hors fer à repasser) pour 290 millions de francs. Il a ainsi accru sa capacité de production en rachetant deux usines au Brésil. Ses ambitions sont d'accroître ses ventes dans le Mercosur à partir de cette base.

L'emploi

Evolution des effectifs du groupe Moulinex

Les effectifs présentés dans le tableau ci-dessous correspondent aux effectifs inscrits en fin d'exercice, (au 31 décembre de 1988 à 1991 et au 31 mars de 1993 à 1998).

Evolution des effectifs du groupe Moulinex (fin d'exercice)

    Unités

    1988

    1989

    1990

    1991

    1993 *

    1994

    1995

    1996

    1997

    1998

    Effectifs

    9 386

    11 304

    12 713

    14 800

    14 400

    13 382

    12 007

    11 497

    11 066

    10 643

    Evolution en nombre

    -

    + 1 918

    + 1 409

    + 2 087

    - 400

    - 1 018

    - 1 375

    - 510

    - 431

    - 423

    Evolution en %

    -

    + 20,4

    + 12,5

    + 16,4

    - 2,7

    - 7,1

    - 10,3

    - 4,2

    - 3,7

    - 3,8

* Exercice de 15 mois (du 01.01.1992 au 31.03.1993). Source : Rapports annuels

L'évolution des effectifs du groupe est scindée en deux périodes.

    · la première, de 1988 à 1991, est marquée par une progression importante des effectifs à un moment où le groupe Moulinex réalise un nombre significatif d'opérations de croissance externe : acquisition de Swan Housewares (Royaume-Uni) et de GMX (Irlande) en 1988, puis, de Albacan BV (Pays-Bas) et de plusieurs sociétés en Italie en 1989. Enfin, l'exercice 1991 subit une modification de périmètre majeure avec l'acquisition de Krups,

    · après 1991, s'engage une seconde période où les effectifs diminuent de façon régulière du fait des opérations de rationalisation menées par le groupe. L'exercice 1994/1995 est particulièrement marqué par ces opérations : de nombreuses cessions et opérations de réorganisations industrielles entraînent un recul significatif des effectifs. On peut rappeler la mise en place d'un plan emploi en France, la cessation de certaines activités avec la fermeture de l'usine de Birmingham et de l'usine de Pologne, le désengagement de l'activité climatisation ainsi que la vente de la société Girmi (Italie), de Krups Italie et de Krups Mexicana ainsi que celle de Moulinex Appliances (Etats-Unis). En 1995/1996, la société de production de cordons et faisceaux électriques de Domfront a été cédée tandis que l'usine de Granville a été fermée et ses activités transférées, pour l'essentiel, à Saint-Lô ;

    · enfin, la diminution des effectifs de l'exercice 1996/1997 concerne principalement la France et l'Allemagne dans le cadre du Plan de Reconquête de la Performance. Parallèlement, la croissance des effectifs hors d'Europe est essentiellement due au développement de l'usine située au Mexique. En 1997/1998, la France et l'Allemagne ont continué à perdre des effectifs.

    Les restructurations se sont poursuivies au cours de l'année 1998 : le groupe a, par exemple, annoncé en novembre 1998, la fermeture du site de Limerick (Irlande) qui va entraîner le transfert des productions vers Saint-Lô, Mayenne et Villaines. De même, des plans de réduction des effectifs ont été présentés pour les sites de Falaise et Fresnay, par exemple.

Le tableau ci-dessous retrace les évolutions des effectifs par grande zone géographique.

Evolution des effectifs (en fin d'exercice) par zone géographique

    Unités

    1991

    1993 *

    1994

    1995

    1996

    1997

    1998

    France

    Evolution en %

    Part en %

    9 209


    -

    62,2

    8 816


    - 4,3

    61,2

    8 511


    - 3,5

    63,6

    7 919


    - 7,0

    66,0

    7 669


    - 3,2

    66,7

    7 101


    - 7,4

    64,2

    6 183


    - 12,9

    58,1

    Europe

    Evolution en %

    Part en %

    4 821


    -

    32,6

    4 808


    - 0,3

    33,4

    4 127


    - 14,2

    30,8

    3 446


    - 16,5

    28,7

    3 027


    - 12,2

    26,3

    2 766


    - 8,6

    25,0

    2 780


    + 0,5

    26,1

    Reste du Monde

    Evolution en %

    Part en %


    770


    -

    5,2


    776


    + 0,8

    5,4


    744


    - 4,1

    + 5,6


    642


    - 13,7

    5,3


    801


    + 24,8

    7,0


    1 199


    + 49,7

    10,8


    1 680


    + 40,1

    15,8

    Total

    14 800

    14 400

    13 382

    12 007

    11 497

    11 066

    10 643

    Evolution en %


    + 16,4


    - 2,7


    - 7,1


    - 10,3


    - 4,2


    - 3,7


    - 3,8

* Exercice de 15 mois (du 01.01.1992 au 31.03.1993). Source : Rapports annuels

Il permet de mesurer le repli continu des effectifs France sur l'ensemble des exercices présentés, avec une nette accélération en fin de période, à l'issue de l'exercice 1996/1997 et plus encore, de 1997/1998.

Parallèlement, dans les autres pays d'Europe (où Moulinex dispose d'effectifs importants, notamment en Italie et en Allemagne), les pertes d'effectifs sont encore plus fortes : les baisses les plus importantes se situent entre 1993/1994 et 1995/1996 et s'expliquent par les opérations de restructurations et les cessions réalisées au cours de ces années en Allemagne et en Italie.

Le mouvement se ralentit ensuite et l'on observe même une légère remontée des effectifs à l'issue de l'exercice 1997/1998, bien qu'en Allemagne, de nouvelles rationalisations portant sur le regroupement de sites de production et la mise en commun des moyens administratifs et logistiques pour les deux marques Moulinex et Krups soient intervenues.

En revanche, les effectifs hors d'Europe augmentent nettement au cours de la période sauf en 1993/1994 et surtout en 1994/1995, exercice où cours duquel Moulinex a cédé des activités aux Etats-Unis et au Mexique. Ensuite, sur les trois derniers exercices, l'augmentation des effectifs est considérable.

Le groupe Moulinex a engagé un mouvement de délocalisation de certaines de ses productions qui bénéficie aux pays non-européens. Ce mouvement est reflété dans les données ci-dessous.

Comparaison de la part relative du chiffre d'affaires et des effectifs
par zone géographique

    En %

    1991

    1993

    1994

    1995

    1996

    1997

    1998

     

    CA

    Eff.

    CA

    Eff.

    CA

    Eff.

    CA

    Eff.

    CA

    Eff.

    CA

    Eff.

    CA

    Eff.

    France

    20

    62

    20

    61

    22

    64

    22

    66

    23

    67

    21

    64

    21

    58

    Europe

    63

    33

    61

    33

    57

    31

    55

    29

    54

    26

    51*

    25

    59

    26

    Reste Monde

    17

    5

    19

    6

    21

    5

    23

    5

    23

    7

    28

    11

    20

    16

    Total

    100

    100

    100

    100

    100

    100

    100

    100

    100

    100

    100

    100

    100

    100

* Ce chiffre comprend les ventes en Turquie auparavant comptabilisées dans reste du monde.

    Source : Rapports annuels Moulinex

Malgré l'ampleur des réorganisations, le groupe Moulinex est resté, très largement implanté en France. 58 % des effectifs, en mars 1998, étaient encore situés sur le territoire national pour une part relative de chiffre d'affaires réalisée en France de seulement 21 %. Le poids relatif des effectifs France est toutefois en fort recul depuis deux exercices puisqu'il s'élevait encore à 67 % (pour 23 % du chiffre d'affaires) en 1995/1996.

Parallèlement, la part relative des effectifs non-européens est passée de 5 % en 1991 à 16 % au 31 mars 1998, tandis que la part relative du chiffre d'affaires réalisée dans cette zone n'a pas significativement augmenté, passant de 17 % en 1991 à 20 % en 1998. Il s'agit donc bien d'un mouvement de délocalisation.

Cette progression est réalisée avant tout au détriment des effectifs européens non-français puisque leur part relative dans les effectifs du groupe recule nettement : de 33 % en 1991, elle est descendue à 26 %, actuellement.

Evolution de la part relative du chiffre d'affaires et des effectifs France (en %)

    Source : rapports annuels

Mesures de gestion des effectifs en France

Début 1997, Moulinex a signé avec les organisations syndicales (5 sur 6) un accord de réorganisation du travail qui vise au redressement de la compétitivité de l'entreprise tout en en encadrant les conséquences sociales dans une panoplie de mesures.

La principale d'entre elles est la mise en place d'un accord aménagement et réduction du temps de travail dans le cadre de la loi Robien : le temps de travail est, de ce fait, passé de 39 heures à 33 heures 15 et 750 emplois ont été préservés selon Moulinex, en contrepartie d'une réduction de 2,7 % du salaire brut initial des employés et d'une plus grande flexibilité dans l'organisation du travail.

Ce plan prévoyait également 900 transferts de postes, favorisés par le volontariat à travers la mise en place d'une bourse de l'emploi. Par ailleurs, des antennes emploi ont été installées à Mamers et Argentan suite à la décision de fermer ces deux sites (fermetures effectives en juillet 1997).

Au total, afin de limiter le nombre de licenciements secs ou d'en atténuer les conséquences, un ensemble d'actions ont été prévues afin de faciliter les reclassements internes ou externes.

Il faut rappeler que ce type d'actions constitue un effort régulièrement demandé aux entreprises françaises par les Pouvoirs Publics lorsqu'elles mettent en _uvre des plans de restructurations et de licenciements. Aussi, ces actions représentent des mesures d'accompagnement habituellement prévues dans les volets sociaux de ces plans.

Elles sont récapitulés dans le tableau ci-dessous :

Mesures sociales d'accompagnement du Plan de Reconquête de la Performance

Mesures

Financement

Effectifs concernés
(à mars 1998)

Aides à la mobilité

   

Bourse de l'emploi

Moulinex

 

Accord de Robien

Salariés via l'acceptation d'une compensation d'une baisse de rémunération de 2,7 %.

5 000 salariés

 

Etat : allégement de charges sociales pendant 7 ans

 

Pré-retraite progressive

Assedic verse une allocation complémentaire

 

Aide au passage à temps partiel du FNE

Allocation complémentaire versée par l'entreprise et remboursée par l'Etat pendant 2 ans

 

Antenne Emplois

Entreprise

 

Convention de conversion

Assedic

 

Congés de conversion

Entreprise et éventuellement Etat avec un maximum de 50 % de prise en charge

 

Aide la mobilité géographique

20 KF versés par entreprise et Etat

 

Convention d'Allocation Temporaire Dégressive

Entreprise et participation Etat (plafond fixé à 75 % de l'allocation et
1 000 francs/mois pendant 2 ans)

 

Aides aux entreprises qui embaucheraient du personnel Moulinex

Entreprise, entre 30 KF et 40 KF

 

Aide à la création d'entreprise

Etat + aide complémentaire de Moulinex (modulable)

 

Départ volontaire

Prime de 50 KF versée par Moulinex.
80 KF si le salarié est à Argentan ou Mamers

 

Congé sans solde de longue durée

Moulinex entre 20 KF et 30 KF selon la durée

 

Départ FNE

Bénéficiaire, Entreprise, Etat, Unedic

180 personnes
+ 110 personnes prévues

    Source : Groupe Moulinex

En termes de réduction des effectifs, le Plan prévoyait la suppression de 2 136 postes chez Moulinex SA. A la fin de l'exercice 1996/1997 (soit deux mois après la signature de l'accord d'entreprise), 388 départs étaient réalisés au titre du Plan et 587 accords obtenus chez Moulinex SA. Des réductions d'effectifs étaient également prévues hors de France, en particulier en Allemagne, où 276 départs ont eu lieu suite du Plan à la fin de l'exercice 1996/1997.

Répartition des effectifs par catégorie

Concernant le détail des effectifs par différentes catégories, nous ne disposons que d'une information relativement faible et très souvent disparate.

    · Par type de fonction

Répartition des effectifs du groupe par fonctions (données 1996)

    Unités

    France

    Europe

    Amérique
    du Nord

    Reste
    du monde

    Total

    Directs

    4 895

    1 780

    586

    44

    7 305

    En %

    65,5

    55,8

    66,4

    28,2

    62,4

    Structure

    1 900

    521

    182

    38

    2 641

    En %

    25,4

    16,3

    20,6

    24,4

    22,6

    Total industrie

    6 795

    2 301

    768

    82

    9 946

    En %

    90,9

    72,1

    87,0

    52,6

    85,0

    Commercial

    236

    723

    115

    74

    1 148

    En %

    3,2

    22,6

    13,0

    47,4

    9,8

    Fonctionnels

    442

    168

    0

    0

    610

    En %

    5,9

    5,3

    0,0

    0,0

    5,2

    Total

    7 473

    3 192

    883

    156

    11 704

    Source : groupe Moulinex

Les effectifs de production sont sur-représentés en France du fait de la faible délocalisation du groupe mais, cette tendance va s'atténuer puisque les opérations de délocalisation se sont accélérées au cours des derniers exercices et devraient se poursuivre. De même, les effectifs fonctionnels (c'est-à-dire essentiellement du siège et des services de direction centraux) sont logiquement concentrés en France.

En revanche, on observe une forte présence commerciale dans les pays européens (hors de France).

    · Par structure de qualification

Faute d'informations disponibles, nous ne pouvons présenter, en données récentes, une structure de qualification du groupe Moulinex dans son ensemble. En 1990, cette structure de qualification était basse.

Structure de qualification du groupe Moulinex (données 1990)

    Source : rapports annuels

Cependant, ces données restent peu pertinentes du fait de leur ancienneté et à cause de leur caractère très global.

En revanche, le tableau ci-dessous présente la structure de qualification des principales usines françaises du groupe en 1996.

Structure de qualification des principaux sites industriels français
(données août 1996) (1)

    Unités

    Cadres
    et assimilés

    Techniciens
    maîtrise

    Ouvriers

    Total

    Alençon

    146

    354

    1 016

    1 516

    En %

    9,6

    23,4

    67,0

    100,0

    Bagneux

    7

    30

    188

    225

    En %

    3,1

    13,3

    83,6

    100,0

    Carpiquet

    15

    73

    233

    321

    En %

    4,7

    22,7

    72,6

    100,0

    Cormeilles

    132

    433

    958

    1 523

    En %

    8,7

    28,4

    62,9

    100,0

    Falaise

    22

    55

    458

    535

    En %

    4,1

    10,3

    85,6

    100,0

    Fresnay

    2

    38

    279

    319

    En %

    0,6

    11,9

    87,5

    100,0

    Mayenne

    40

    136

    558

    734

    En %

    5,4

    18,6

    76,0

    100,0

    Saint-Lô

    33

    182

    630

    845

    En %

    3,9

    21,5

    74,6

    100,0

    Villaines

    2

    28

    240

    270

    En %

    0,7

    10,4

    88,9

    100,0

    Mamers

    5

    53

    336

    394

    En %

    1,3

    13,4

    85,3

    100,0

    Argentan

    2

    34

    222

    258

    En %

    0,8

    13,2

    86,0

    100,0

(1) Hors absences longue durée. Source : groupe Moulinex

Dans l'ensemble de ces usines, la part relative des cadres et assimilés paraît également faible. Les sites qui disposent des pourcentages de cadres les plus faibles sont aussi ceux où le personnel d'encadrement intermédiaire est parmi les moins nombreux : il s'agit de Bayeux, Falaise, Fresnay, Villaines, Argentan et Mamert. Les plans de réduction d'effectifs et le rééquilibrage des fonctions au profit de la R&D et du marketing et du commercial vont progressivement modifier la structure des qualifications aux dépens des ouvriers.

    · Par type de contrat

Les informations présentées ci-dessous concernent les effectifs intérimaires.

Il semble que, du fait d'une certaine saisonnalité de l'activité, le recours aux personnels intérimaires ait représenté une pratique habituelle du groupe. Ainsi, l'emploi de ce type de personnel aurait représenté 1 000 personnes en moyenne mensuelle en 1995/1996.

Néanmoins, le recours aux intérimaires a fortement reculé au cours de l'année 1998. Selon les prévisions présentées par la direction du groupe, il devait demeurer particulièrement faible pendant le premier trimestre 1999, en raison de l'aménagement du temps de travail destiné entre autres à flexibiliser davantage la production.

Nombre d'intérimaires Moulinex (unités)

    * prévisionnel à partir de janvier 1999 Source : Comité Central d'Entreprise Moulinex

L'évolution de la masse salariale

Evolution des charges de personnel du groupe Moulinex

En MF

1988

1989

1990

1991

1993

1994

1995

1996

1997

1998

Frais de personnel

1 277,6

1 491,2

1 748,8

2 481,5

3 247,4

2 379,3

2 262,0

2 117,4

2 009,6

1 805,3

Evolution en %

+ 6,9

+ 16,7

+ 17,3

+ 41,9

+ 30,9

- 26,7

- 4,9

- 6,4

- 5,1

- 10,2

En % CA *

31,3

29,1

29,3

29,9

32,8

29,6

29,4

27,2

25,9

22,5

* Le chiffre d'affaires considéré est le chiffre d'affaires brut de 1988 à 1990 et le chiffre d'affaires net (des escomptes) de 1991 à 1998.

    Source : Rapports annuels

En début de période, les charges de personnel évoluent à la hausse, suivant en cela le mouvement d'augmentation des effectifs. La progression de ces charges est particulièrement marquée à l'issue des exercices 1990/1991 et 1991/1993, sous l'effet de l'intégration de Krups.

Ensuite, les opérations de rationalisation et de recentrage des activités ont entraîné un recul des charges de personnel. Ces diminutions de charges de personnel ont sans doute été facilitées par le fait que les sites les plus touchés par ces restructurations se situent en France et en Allemagne, où les coûts salariaux sont relativement plus élevés que dans les autres pays.

Sur l'exercice 1997/1998, le recul des charges de personnel s'accélère et celles-ci ne représentent plus que 22,5 % du chiffre d'affaires contre 25,9 % au cours de l'exercice précédent : ceci renvoie également à l'effet de l'allègement des charges, consécutif à l'application de l'accord Robien de réduction du temps de travail ainsi que la poursuite de la baisse tendancielle des effectifs.

Au total, le poids relatif des charges de personnel en pourcentage du chiffre d'affaires recule régulièrement sur la période, ce qui reflète un succès certain de la politique de rationalisation et de recherche de productivité.

Côté rémunération, un accord d'intéressement a été signé sur l'exercice 1997/98 de façon à tenter d'impliquer le personnel dans le redressement du groupe.

La productivité apparente du travail

Evolution de la productivité apparente du travail
(chiffre d'affaires */ effectif fin exercice)

    En KF

    1988

    1989

    1990

    1991

    1993

    1994

    1995

    1996

    1997

    1998

    Chiffre d'affaires
    par salarié

    359,1

    453,5

    469,1

    560,6

    686,3

    601,4

    639,8

    677,4

    700,0

    754,3

    Evolution en %

    -

    + 26,3

    + 3,4

    + 19,5

    + 22,4

    - 12,4

    + 6,4

    + 5,9

    + 3,3

    + 7,8

* Le chiffre d'affaires considéré est le chiffre d'affaires brut de 1988 à 1990 et le chiffre d'affaires net (des escomptes) de 1991 à 1998.

    Source : Rapports annuels Moulinex

La productivité apparente du travail progresse de façon continue au cours de la période.

Après la mise en place du plan de Reconquête de la Performance, la productivité apparente du travail passe de 700 kF à fin mars 1997 à 754,3 kF à fin mars 1998, soit une progression de 7,8 %. L'analyse ultérieure de la productivité apparente du travail devra être réalisée à la lumière des effets de ce plan. Compte tenu de la profondeur des changements intervenus et du délai nécessaire pour que Moulinex bénéficie de toutes leurs retombées, on peut penser que ces gains devraient continuer à croître de 4 % à 5 % dans les années à venir.

L'effort de formation

En accompagnement du plan de reconquête de la performance, le budget alloué à la formation a été doublé et représente maintenant 2,5 % de la masse salariale, ce qui demeure un niveau relativement modeste même si le seuil légal est dépassé.

La formation a été utilisée sur certains sites de production comme un moyen d'occuper le personnel au lieu de recourir à des mesures de chômage partiel. Ainsi, sur le site de Falaise, trois jours de formation ont été dispensés à 350 salariés en novembre et décembre 1998 pour un coût évalué à 1,2 MF. De même, 155 agents de production du site de Fresnay ont bénéficié de 6 demi-journées de formation au cours du dernier trimestre 1998.

D'une manière générale et sur l'ensemble de l'exercice, l'effort de formation a porté sur l'amélioration des compétences des plasturgistes, des électroniciens et électriciens (notamment dans la fabrication des moteurs électriques) ainsi que dans le développement de la polyvalence qui permet d'améliorer la flexibilité et la réactivité de l'entreprise et de mieux réagir à la réduction du temps de travail. Dans le même ordre d'idée, la formation au travail en flux tendus a été favorisée. Cette formation a eu des visées productives et s'inscrit dans le cadre de la réduction des niveaux hiérarchiques.

Enfin, un dernier axe prioritaire doit être souligné : celui de l'amélioration des capacités de management et de communication de l'encadrement.

En 1998/99, le groupe compte engager le même effort de formation, soit 2,5 % de la masse salariale : une partie importante de ces dépenses sera consacrée à l'accompagnement des transferts d'activité et à la mobilité professionnelle (géographique mais aussi de poste).

Cliquer ici pour revenir au sommaire du tome III
Cliquer ici pour revenir au sommaire général du rapport

() Rappel : Valeur ajoutée = production - consommations intermédiaires (soient achats consommés de matières, impôts & taxes, autres achats et charges externes)

() Le détail des dépenses d'exploitation n'a pas été communiqué.